摘要:以三相电能专用计量芯片ATT7022A和一种高性能低功耗的AVR单片机atmega128为核心,设计一种无功补偿控制器。该控制器能实时测量电网的电流电压值、有功功率、无功功率、功率因数等参数,根据实际情况,准确的控制电容器的投切,能有效的提高线路功率因数、较少损耗,改善电网质量。
在工业和生活用电负载中,阻感负载占有很大的比例。异步电动机、变压器、荧光灯等都是典型的阻感负载。异步电动机和变压器所消耗的无功功率在电力系统所提供的无功功率中占有很高的比例。电力系统中的电抗器和架空线等也消耗一些无功功率。阻感负载必须吸收无功功率才能正常工作,这是由其本身的工作性质决定的。最合理的方法就是在这些感性设备附近及线路适当位置并联电容器组来进行无功补偿。在电力系统中,采用无功补偿的方法来提高功率因数、减少无功损耗,是改善供电质量、提高设备利用率的重要手段之一。
进行无功补偿的前提是能准确地测量电网的运行状况,主要有功功率、无功功率、功率因数、谐波状况等。ATT7022A是一颗高精度三相电能专用计量芯片,适用于三相三线和三相四线应用。
它能够测量各相以及合相的有功功率、无功功率、视在功率、有功能量以及无功能量,同时还能测量各相电流、电压有效值、相角、频率等参数,充分满足电能数据采集的需求。而且提供一个SPI接口,方便与外部MCU之间进行计量参数的传递,所有的计量参数都可以通过SPI接口读出。用它能准确地采集这些参数,并且精度高,软件设计简单,内部框图如图1所示。

图1 ATT7022A内部框图
文中所介绍的无功补偿控制器是基于三相电能专用计量芯片ATT7022A来实现的,控制芯片为atmel公司生产的AVR单片机ATmega128和ATme ga16相比,它是AVR8位系列单片机的最高配置的一款单片机,并有53个可编程IO口,在设计液晶显示和驱动电路上比较方便。该控制器能根据ATT7022A提供的的有功功率、无功功率、功率因数来分析判断是否进行无功补偿,自动投切电容器,实现配电网的自动无功补偿,提高输电效率。
控制器的硬件电路设计主要有电压电流检测电路、电源电路、驱动电路、通信电路及液晶显示模块等组成,以Atmega128为控制芯片,可以轻松的完成这些控制功能。其硬件结构框图如下图所示。电网电压、电流经过互感器后,电压电流信号送到了ATT7022A上。ATT7022A提供一个SPI接口,所有的计量参数都可以通过SPI接口读出,单片机根据这些参数来判断功率因数,决定是否进行无功补偿,并把信号传送给电容投切模块。

图2 控制器硬件结构电路
检测电路如图,该模块主要是采集电网的电压、电流信号,电压输入UA UB UC UN,量程0~220V.电流输入IA1 IA2 IB1 IB2 IC1 IC2,量程0~5 A.ATT7022A推荐芯片电压输入脚上的采样值为0.2~0.5 V,芯片电流输入脚上采样电压为0.1 V.因此,5 A的电流信号通过5 A/2.5 mA电流互感器把5 A的电流转换成2.5 mA的电流。再经过40 Ω的电阻,输入电压为0.1 V.220 V的电压信号通过120 K的电阻,再经过2 mA/2 mA电流型电压互感器,输出电流大约为2 mA,再经过250 Ω的电阻。转换成0.5 V的电压。ATT7022内部集成了7路16位ADC,参考电压电路和所有功率、能量、有效值、功率因数及频率测量的数字信号处理等电路,并分别将实测值存放在相对应的存储空间,并通过SPI与单片机进行数据交换,无需在系统软件中进行编程得出无功功率,这样不仅节省了CPU空间,还提高了计算效率。

图3 电压和电流输入通道原理图
电源电路设计如图4所示,采用24V开关电源,它是高频逆变开关电源中的一个种类。开关电源输入为200~240VAC,输出为正24V电压,供驱动芯片MCl413使用。再用MC34063DC/DC变换器,可实现升压或降压电源变换器,把24 V的电压转换成5 V电压,Atmega128和ATT7022、液晶模块LCD所需要的电压都是+5 V.数字电路与模拟电路,一般要分开,最后一点汇集在一起,此时可以用0欧电阻相连,作用有:1)直接相连的电流通路可能很大,用0欧电阻则可以获得很窄的电流通路,能有效限制环路电流,抑制噪声。2)布线的时候,区分数字地与模拟地很麻烦,用0欧电阻分开,可以清楚的分辨数字地与模拟地。

图4 电压转换电路
电容投切单元。通过对ATT7022A测量出来的无功功率或功率因数分析,决定是否进行无功补偿,即投切电容器,本控制器采用晶闸管控制电容器进行投切。由于电容器两端电压不能突变,电网电压和电容器电压差值较大时,触发晶闸管会产生很大的电流冲击,为了防止在投切电容器时产生涌流,在晶闸管两端电压为零时投入,电流为零时切除,对无功功率实时动态补偿。
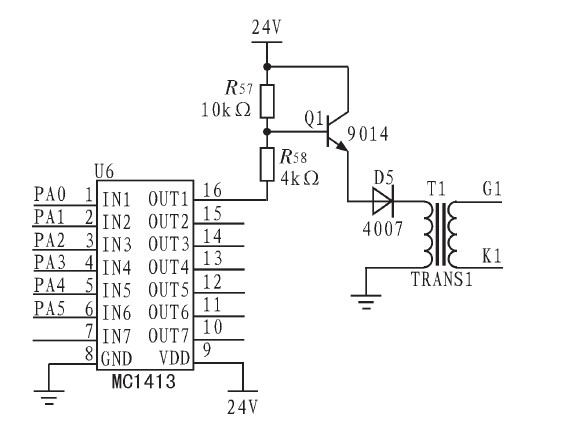
驱动芯片选用摩托罗拉公司生产的MC1413,它是大电流达林顿陈列反向驱动器,工作电压高,灌电流可以达到500mA,并能够在关态时承受50 V的电压。如图所示,MC1413在输入为1时,输出为0,这样三极管在电阻的分压下,发射极、基极和集电极之间形成压降,连通发射极和集电极,输出+24 V的电压,通过一个脉冲变压器,可以驱动可控硅打开,反之则关闭。

图5 电源电路
晶闸管控制电容器,每两个晶闸管连接一个电容器,图中所示为一路晶闸管输出,G1、K1分别接晶闸管的门极和阴极,控制器用两个MC1413芯片,可以控制12个晶闸管共6组,可以控制6组电容器投切。

图6 驱动电路原理图
通信模块。其电路采用单电源电平转换芯片max232,用于与上位机通信,主要用来进行电网运行参数和系统运行状态的数据传输以及系统时间的校准,并接受上位机发出的投切等操作命令。
人机接口单元。人机接口单元包括键盘输入和液晶显示两部分。键盘部分用于设定工作参数、切换显示内容和设置时钟时间,也可特殊情况下实现电容器的手动投切,键盘采用I/O口直接驱动。液晶显示功能主要显示电流、电压、有功功率、无功功率、功率因数、电容的运行状态及谐波状况等。
采用ATT7022A计量芯片,单片机无需进行任何复杂的运算,测量数据直接提供,并且可以提供四象限功率测量参数,可准确测量到21次以上谐波。CPU不涉及A/D采样数据的处理,这使CPU的运算量大大降低,并且大大的简化了软件程序设计,使系统的运行更加可靠。
在电力传输过程中,电力系统功率因数一般大于0.95,如果功率因数小于0.95就要进行补偿。功率因数是投切的依据,若功率因数低于0.95,则投入电容器,若大于1.0,切除电容器。控制器的控制策略是根据计量芯片提供的有功功率、无功功率等参数,分析电网的功率因数是否低于0.95,电网是否过压或者欠压等,通过与设定值比较,决定电容器是分相投切还是三相同时投切,电容器投切时,采取"先投先切,先切先投"的原则,防止对一组电容器组的频繁投切,保证电容器安全,实现电网的正常运行。

图7 系统软件流程图
控制器的电压输入范围为0~220 V,电流的输入范围为0~5 A,所以测量大电流大电压时需要进行电压电流转换。如测量0.4 kV,500 KVA的负载时,其额定电流大约为700 A,因此可以选用电流互感器的型号为LMZJ1000/5的电流互感器,变比为200.程序中对读取的电流、有功功率、无功功率、视在功率乘以变比200,就是实测的电参数。
测量10 kV,200 A的负载,电压和电流都不能直接测量,需要加电压互感器和电流互感器,可以选用变比为100的电压互感器,变比为50电流互感器,如下图接线。程序中,对读取的电压乘以变比100,读取的电流、有功功率、无功功率、视在功率乘以变比50,就是实际的测量参数。

图8 控制器连接互感器接线图
以ATmega128单片机为CPU,ATT7022A为计量芯片设计的无功补偿控制器,能精确的计算出电网的无功功率、有功功率、功率因数,为实现无功功率的补偿提供了准确的数据,硬件结构简单,可靠,同时减低了对CPU的要求,精简了软件设计,同时有能保证稳定性好的特点。
该控制器只适用于低压配电网无功功率的补偿,对于测高电压大电流的方案,文中也给出了测量方法及接线图。该控制器对改善电网功率因数、降低电网损耗有良好的效果,并且设计简单,成本低,具有良好的市场前景。