用6N9C制作无输出变压器的耳机放大器
2012-09-15
李万
标签: 胆机 6N9C

近年来,随着国家经济的发展,人民生活水平不断提高。青睐耳机这种发烧器件的朋友越来越多,而且,好耳机也层出不穷,为广大发烧友带来了福音。然而,好的耳机需要好的驱动。购买或制作一台高素质的耳机放大器就成为必需。虽然晶体管、场效应管具有较低的输出阻抗。然而。越来越多的朋友开始喜欢电子管的声音。认为电子管的声音更好听。实际上也确实如此。同时。发烧耳机的阻抗一般在30-600Ω之间,远高于音箱的4-16Ω,用电子管,特别是采用无输出变压器方式制作耳机放大器成为可能。本文介绍用国产小功率五极管6N9C (6P9P) 制作White Cathode Follower(WCF)耳机放大器。

一、设计思想

采用无变压器输出,非常有利于业余制作。现在国产很多高素质的电子管耳机放大器,也采用无输出变压器,说明电容输出可以得到较好的效果。实际上,使用电容交流输出,可以很容易做到很宽的频率响应,也有利于阻抗匹配。

虽然电子管的种类繁多,但能够用于驱动耳机、音质较好且成本低廉的电子管却不多,因为对于输出管而言,需要较低的内阻、较高的跨导和较大的屏流。本机使用了一种命名为6N9C(6P9P)的小功率五极管,用4只这种管子组成WCF电路,用来驱动低阻耳机,30Ω的阻抗也没有任何问题。

五极管的特点是细腻圆润。将五极管接成三极管后,线性更好,内阻大幅度下降,跨导没什么大的变化,虽然输出功率有所减小,但对于耳机来说,也已经足够了。本机使用了4只老南京的6N9C,大家都知道,南京是我国近现代电子工业的摇篮。老南京的管子更是国产精品。因此。使用老南京的6N9C可以比普通的6P9P获得更好的音质音色。6P9P为宽频带五极管。可以非常方便地获得较宽的频率响应。

末级工作状态为WCF,是一种推挽线路,和SRPP非常相像,但它没有电压增益,当屏极电阻优化为一个管子跨导的倒数的时候。其输出阻抗基本为两倍跨导的倒数。因此。与SRPP和阴极输出器相比。WCF可以获得更低的输出阻抗,这一点不仅有利于驱动低阻耳机,对于中高阻耳机来说,也能获得更好的低频效果。同时,与阴极输出器相比。WCF由于是推挽线路。更容易控制噪声。

WCF输出部分,6P9P工作点为屏压135V左右,屏流40mA,阴极电阻44Ω。此时,估计跨导应该在11mA/V以上,开环情况下,输出阻抗就已经下降到45Ω以下,再加上大环反馈,输出阻抗应该低至20Ω,驱动30Ω的低阻耳机没有任何问题。

前级放大由两个6N3接成SRPP线路。直耦6P9PWCF。之所以选择6N3,是蛭?P9P为宽频带五极管,而6N3为高频放大管,对于中高频更为有利,且接成SRPP放大线路,对WCF的控制能力更强,从头到尾都是甲类推挽放大,可以获得非常宽的频率响应和极好的噪声控制能力。实际制作后,一次焊接成功,且声场、频响感觉都非常宽,而且还不是宽一点。由于是直耦,基本上6P9P的工作点就已经决定了6N3的工作点。6N3SRPP静态工作点为:135V左右的屏压,阴极电阻为1 kΩ,棚压为2.6V左右,因此屏流在2.6mA左右,已足以驱动6P9P。

电源采用分体式双电源,两台以前生产的无厂牌、无标示的45W六灯电源牛提供强劲功率,笔者应用这种电源变压器,制成了多台双电源耳机放大器。效果都令人非常满意。而且,这种变压器目前售价较低。两台不到40元,与现在市面上“缺斤短两 的变压器相比,实在是非常超值。由于六灯变压器使用电子管整流.输出电压不能达到要求,因此,先使用了1N4007二极管整流升压,然后用6Z4作为二次整流和软届动,再经过电容扼流圈滤波,即可得到所需要的电压。

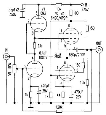
整机线路图如1。整个线路还是比较简单,而且,推挽线路安装调试非常方便,基本上能够一次成功,下面介绍一下笔者的制作过程。

 

 

二、实际制作

笔者用2.5mm厚铝板制成分体式机箱。使用手电钻可以非常方便地开孔。电源连接插头插座耐压250V(交流),使用过程中没有任何不妥。分体连接线使用特福龙镀银线制成,外面使用热缩管或塑料套管包覆即可,长约30cm。因为灯丝为交流供电,连接线需要双股绞合。

焊接可以先从电源箱开始。6Z4灯丝交流供电,需要双股绞合,并贴近底板和侧板走线,高压交流线和6N3/6P9 P的灯丝如法炮制。可将交流的不良影响减到最低。交流高压先经过1N4007全波整流。然后直入6Z4屏极,进行二次整流。并起到软启动的效果。以保护6N3和6P9P。滤波采用电容扼流圈组合滤波。其中,电容采用了飞利浦蓝六角47uF/385V,2个军品摩洛丽390uF/400V,大客量电容可以有效减小电源波纹和内阻。扼流圈使用西门子古董2H130mA(直流电阻约150-160Ω),别看电感量不大,但实际应用感觉还是非常不错。电源箱内采用一点接地,要注意两个机箱的地线要相连才会出声音。6N3/6P9P的灯丝使用有中心抽头的大电流绕组,两端的抽头进电源箱后,直奔电源输出插座,通过机外连接线进入放大箱内。中间抽头引入电源箱内,并用两个电阻一个电容构成灯丝对地悬浮——这是因为6N3和6P9P的灯丝与阴极之间的最大电位差为正负100V。必须对地悬浮.才能保护好电子管。

放大箱较为复杂。因为6P9P为大八脚封装,四个6P9P就用去不少空间。必须很好设计才能装好机器。放大箱按照信号走向和线路图布局,从后向前。信号从后面进入,6N3就紧邻着电位器。然后直耦到上面的6P9P。上面的6P9P再通过电容交联耦合到下面的6P9P,然后输出。电位器采用日本ALPS双100kΩ大蓝塑壳27型。本机全部采用手工搭棚焊接。一定要注意高压线、灯丝线和信号线的布局。信号通道。无论是输入还是输出。尽量使用屏蔽线。接地采用一点接地和公共接地相结合的方法。屏极退耦电容采用了古董美国CD大八脚插式孪生电容35uF×2/350V两个,需要注意的是,屏极退耦电容的负端一定要直接入地。不能连接到6N3或者6P9P阴极地后再接地,因为这样的话,可能会引入令人讨厌的交流声,接地点选择6N3附近即可。需要指出的是6P9P之间的耦合电容采用国产军品绿色油浸电容0.1uF/1000V的品种,效果非常不错。输出电容采用斯碧680uF/200V的电解。声音还是非常好,而且因容量较大可以获得更好的低频响应。

需要指出的是。由于6P9P的第三栅是和外壳相连接,而本机中,6P9P又接成了三极管,此时上端的6P9P外壳将带电,电压为125V左右,因为,对于老南京的管子,工作时绝对不能碰触上端的6P9P外壳,对于曙光的。其外壳虽然涂有油漆,但也不能碰触,最好将上端的6P9P外壳进行绝缘处理,这样比较安全些。因为,即使在断电状态下,由于6P9P与输出电容相连接,而优质输出电容往往能保持较高电压很长时间,一旦碰触,虽无大的妨碍,但麻麻的感觉实在不好受,所以,建议对6P9P外壳进行绝缘处理。

制作完毕后,先仔细检查各处,看是否有短路和开路的地方。确认无误后,插上电子管,通电测试。通电后,要使用你的三个感官来确认没有严重问题(如短路等),这就是“用眼看(异样)、用鼻闻(异味)、用耳听(异声) ,要观察各元器件是否有异样(电阻电容变颜色、电容泄漏、电子管屏极发红等),要用鼻闻一下是否有异味,用耳听一下是否有异声(此时不要西耳机,听的是机器的声音,不是耳机里面的声音)。确认无误后。用万用表测量各处电压是否正常。确认正常后,即可插上一个廉价的小耳机试听一下,最后插上你心爱的耳机,来享受音乐吧。

三 听音欣赏

为了检验本机各频段的表现和对音乐的重放性能。笔者使用了大量软件(CD唱片)来测试。听音的CD既包括民族音乐,如马可波罗跨世纪天碟、雨果发烧碟8,弦在烧(一)等,也包括西洋古典(精品贝多芬、金箔堡协奏曲、精品巴赫、红魔鬼),既包括流行歌曲(极品8号等),也包括新世纪音乐、电子音乐等,既有DDD录音,也有DSD(大电影、大西部等)、HDCD甚至XRCD(一听钟情国乐等)。总体感觉是,金石之声、铿锵有力的同时。不失柔美顺滑、荡气回肠,解析力相当高,动态也非常大。再听《家电大视野》原来音乐版班主“中烧”翻录的家电大视野纪念CD,第2张最后三首,钟表齐鸣煞是好听。清脆悦耳。最后一首,第一次听清了黑人在远处的说话声,清晰可辨。真是要动态有动态,要韵味有韵味,要清晰有清晰。笔者认为,这主要得益于两个方面,第一,管子的选择,6N3和6P9P都是胆味较浓的管子;第二,线路的选择,SRPP和WCF给予了大动态、极宽频响的重要基石。所以,这是一台非常值得一做的耳放。花费不多,你就可以得到一台质素很高的、用来驱动发烧耳机的利器。

可能会用到的工具/仪表
本站简介 | 意见建议 | 免责声明 | 版权声明 | 联系我们
CopyRight@2024-2039 嵌入式资源网
蜀ICP备2021025729号